蝶阀
球阀
执行器
闸阀
水力控制阀
地址: 浙江省温州三桥东瓯工业区
电话: 0577-67371288
  0577-67371388
传真: 0577-67371886
  0577-67371887
手机: 13906771587
邮编: 325105
产品展示 您的位置:网站首页 > 产品展示 > 执行器 > 电动执行器HL-200(免支架)
技术参数
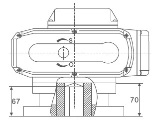
产品名称:电动执行器HL-200(免支架)
电动执行器HL-200(免支架)
产品简介:
概述

HL系列电动执行器用于控制0°~90°旋转的阀门及其他同类产品,如蝶阀、球阀、风门、旋塞阀、百叶阀等,它以AC415V380V240V220V110VDC12V24V220V交流电源为驱动电源,以4-20mA电流信号或0-10V DC 电压信号为控制信号,可使阀门运动到所需位置,实现其自动化控制,最大输出扭矩达6000N·m。可以广泛应用于石油、化工、电力、冶金、制药、造纸、能源、水处理、船舶、纺织、食品加工、楼宇自动化等领域。同时更具有体积小、重量轻、外形精美、结构独特、紧凑、起闭迅速、易于安装、操力矩小,操作方便,数显阀位、无须维护及使用安全方便等诸多优点。

 
特点
小型轻便,容易拆装及维修,并可在任意位置安装
结构简单、紧凑,90°回转启闭迅速   
操作扭矩小,省力轻巧               
流量特性趋于直线,调节性能好           
多种控制信号:开关控制;
比例(调节型)控制:0-10VDC或 4-20mA   
反馈输出可选4-20mA、辅助开关及反馈电位器(0~1K)
电源电压:AC110V、AC220V、AC380V、AC415V、AC24V 、DC24V、                                                                                                
启闭次数多达数万次,寿命长         
达到完全密封,泄漏为零                 

IP67高标准防护等级,室内室外无所不能

HL-200

电源

AC24V

AC110V

AV220V

AC380V

电机功率

100W

额定电流

9A

2.2A

1.2A

0.48A

输出力矩

2000N.m

运行时间

100S

50S

电路控制

B、S、R、H、A、K、D、T

转动角度

0-90°

重量

11.8kg

耐压等级

1500VAC/1minute

绝缘电阻

100MΩ/500VDC

防护等级

IP-67

环境温度

-25℃~60℃(其他温度可定做)

安装角度

任意角度

箱体材质

铝合金压铸件

选装功能

过力矩保护、加热除湿器

 

 

下一个产品:电动执行器HL-400(标准型)上一个产品:气动执行器HL-ZX
 
相关产品:
气动执行器HAT-100D气动执行器HAT-190D气动执行器HAT-125D气动执行器HAT-75D气动执行器HAT-50D电动执行器HL-05(防水型)电动执行器整体性HL电动执行器HL-400(标准型)
合力品牌专注于阀门研发制造的实体公司。欢迎同行交换链接!     浙江合力阀门有限公司高品质、最优售后服务不锈钢蝶阀厂家,专业生产不锈钢蝶阀系列产品。
友情链接: b2b联盟 b2b网站大全 全焊接球阀 自由浮球疏水阀 排泥阀 双向压蝶阀 深井泵 Q41F球阀 刀型闸阀 铸铁闸阀 工厂店铺 气体减压阀 液化气阀门 设备视镜 SEO教程